XHQ系列氣動弧門

● (一)用途
XHQ系列氣動弧門卸料器是一種新型卸料設備。它廣泛應用于煤炭、電力、化工、建材、冶金、礦山、食品、糧食、醫藥、交通運輸等部門的散體物料的卸料。
● (二)特點
1、能自動開啟、關閉,啟閉方便、靈活、準確;
2、給料且可調,易于實現自動控制;
3、結構簡單、外形尺寸小、安裝操作簡便;運行可靠,維修方便;
4、重量輕,運行費用低,磨損小,噪音低;
5、安裝高度低,可取代料倉錐體或部分錐體,不需要基礎。
6、工作安全可靠,不受失電的影響。
● (三)說明

● (四)主要技術參數
型號
進料口尺可
mm
生產率
t/h
適用料倉直徑 mm
料倉容量
m2
重量
kg
XHO6060
600×600
50-400
800-1000
4-10
300
XHQ7070
700×700
100-600
900-1200
6-15
400
XHQ8080
800×800
200-800
1000-1500
8-20
500
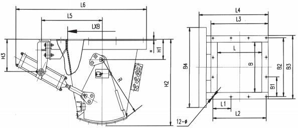
(五)氣動弧門外形如圖所示

表一:氣動弧門卸料器外形尺寸表
型號
L
B
Ll
L2
L3
?
B1
B2
B3
B4
φ
H
H1
H2
H3
L5
L6
R
XHQ6060
600
600
240
3×240
776
938
240
3×240
776
980
19
8
160
680
255
530
1144
503
XHQ7070
700
700
270
3×270
900
978
270
3×270
900
1080
22
8
210
790
371
558
1244
563
XHQ8080
800
800
310
3×310
1000
1015
310
3x31(
1000
1180
22
8
26
900
487
585
1344
623
注:除以上規格尺寸外,本廠還能承接各類非標準弧門卸料器的設計制作。
● (六)氣動弧門卸料器的控制
該卸料器通過水銀開關或行程開關實現氣路的通、斷;通過限位擋塊實現弧門的開啟、閉合位置;通過 調節定位銷軸在銷軸板上的位置實現弧門開啟的大小,從而實現卸料量的調節。
● (七)維護
該卸料器正常情況下穩定可靠,維修量很少,只需定期向各轉動部件內加潤滑脂即可;當運行一段期限 后進行設備大修時將各處軸套拆開進行清理,磨損嚴重的進行更換即可。

● (一)用途
XHQ系列氣動弧門卸料器是一種新型卸料設備。它廣泛應用于煤炭、電力、化工、建材、冶金、礦山、食品、糧食、醫藥、交通運輸等部門的散體物料的卸料。
● (二)特點
1、能自動開啟、關閉,啟閉方便、靈活、準確;
2、給料且可調,易于實現自動控制;
3、結構簡單、外形尺寸小、安裝操作簡便;運行可靠,維修方便;
4、重量輕,運行費用低,磨損小,噪音低;
5、安裝高度低,可取代料倉錐體或部分錐體,不需要基礎。
6、工作安全可靠,不受失電的影響。
● (三)說明

● (四)主要技術參數
型號 | 進料口尺可 mm | 生產率 t/h | 適用料倉直徑 mm | 料倉容量 m2 | 重量 kg |
XHO6060 | 600×600 | 50-400 | 800-1000 | 4-10 | 300 |
XHQ7070 | 700×700 | 100-600 | 900-1200 | 6-15 | 400 |
XHQ8080 | 800×800 | 200-800 | 1000-1500 | 8-20 | 500 |
(五)氣動弧門外形如圖所示

表一:氣動弧門卸料器外形尺寸表
型號 | L | B | Ll | L2 | L3 |
| B1 | B2 | B3 | B4 | φ | H | H1 | H2 | H3 | L5 | L6 | R |
XHQ6060 | 600 | 600 | 240 | 3×240 | 776 | 938 | 240 | 3×240 | 776 | 980 | 19 | 8 | 160 | 680 | 255 | 530 | 1144 | 503 |
XHQ7070 | 700 | 700 | 270 | 3×270 | 900 | 978 | 270 | 3×270 | 900 | 1080 | 22 | 8 | 210 | 790 | 371 | 558 | 1244 | 563 |
XHQ8080 | 800 | 800 | 310 | 3×310 | 1000 | 1015 | 310 | 3x31( | 1000 | 1180 | 22 | 8 | 26 | 900 | 487 | 585 | 1344 | 623 |
注:除以上規格尺寸外,本廠還能承接各類非標準弧門卸料器的設計制作。
● (六)氣動弧門卸料器的控制
該卸料器通過水銀開關或行程開關實現氣路的通、斷;通過限位擋塊實現弧門的開啟、閉合位置;通過 調節定位銷軸在銷軸板上的位置實現弧門開啟的大小,從而實現卸料量的調節。
● (七)維護
該卸料器正常情況下穩定可靠,維修量很少,只需定期向各轉動部件內加潤滑脂即可;當運行一段期限 后進行設備大修時將各處軸套拆開進行清理,磨損嚴重的進行更換即可。



